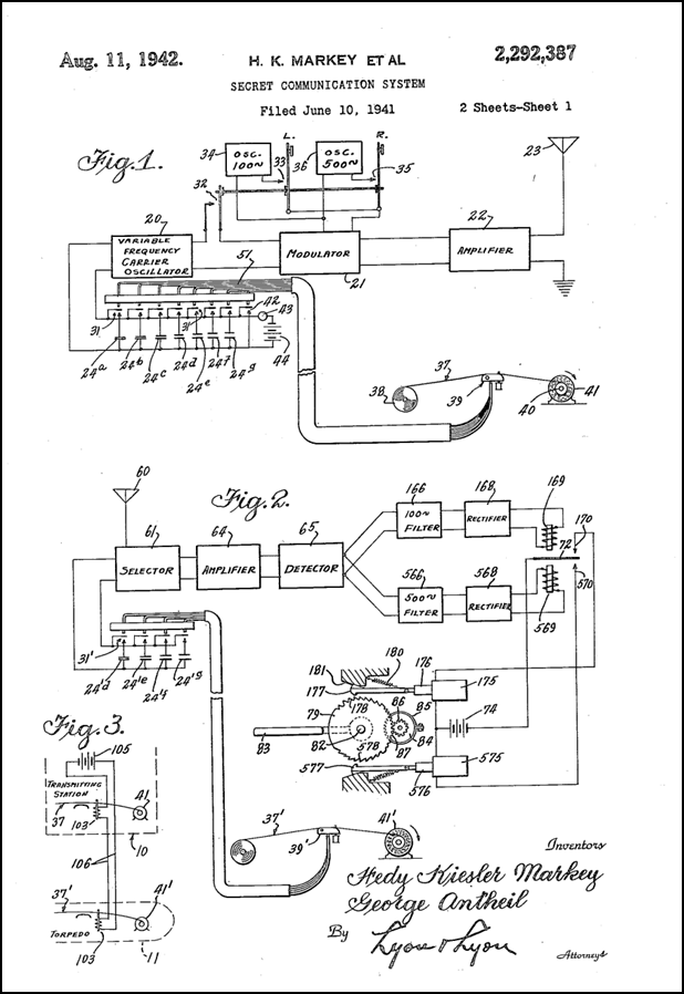
August 11, 1942, Hedy Markey, better known as actress Hedy Lamarr, received a patent for a secret communication system.
With the ongoing world war, Lamarr was inspired to contribute to the war effort by designing a jam-proof radio guidance system for torpedoes. With the help of composer George Antheil, they drafted designs for a new frequency-hopping spread-spectrum technology which they later patented.
Lamarr and Antheil realized that radio-controlled torpedoes, while could be important in the naval war, could easily be jammed, which caused the torpedo to go off course. With the knowledge she had gained about torpedoes from her first husband, and using a method similar to the way piano rolls work, they designed a frequency-hopping system that would continually change the radio signals sent to the torpedo.
However, it was technologically difficult to implement and the U.S. Navy was not receptive to considering inventions coming from outside the military at the time. Only in 1962, at the time of the Cuban missile crisis, did an updated version of their design appear on Navy ships. The design is one of the basics behind today’s spread-spectrum communication technology, such as GPS, Bluetooth, wireless and cell phones, and Wi-Fi networks.



11 August 2025 at 21:45
Yes…and it’s still evident that “ideas” from other then “approved sources” aren’t considered “relevant.” Well, when the next war breaks out, and it will, (spoiler alert: there are always going to be wars), the very concept of manned surface ships, let alone air-craft carriers, and “fleet” maneuvers will be demolished as were all “last war” weapons in prior times. Smaller “drone like” vessels with limited above water exposure, nuclear powered and acting without other vessels, dispersed and lying in wait, until moved from all directions to overcome “targets” will be the “next” major expenditure for the U.S. Navy. Trouble is…it’ll never occur without “beyond the box” thinking and understanding that present standards are only guaranteed to cause the same result of “whoever runs out of money first, loses the war.”
LikeLike